Buzdugan I.D., Mogan Gh.L. Proiectarea roboților. Universitatea Transilvania din Brașov

 

Subcap.T.2.3 Soluție constructivă și analiza structurală a modulului de translație cu șurub-piuliță

 

 

https://www.youtube.com/watch?v=CwklwnqzbVU 

 

Soluție constructivă

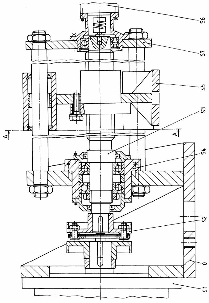
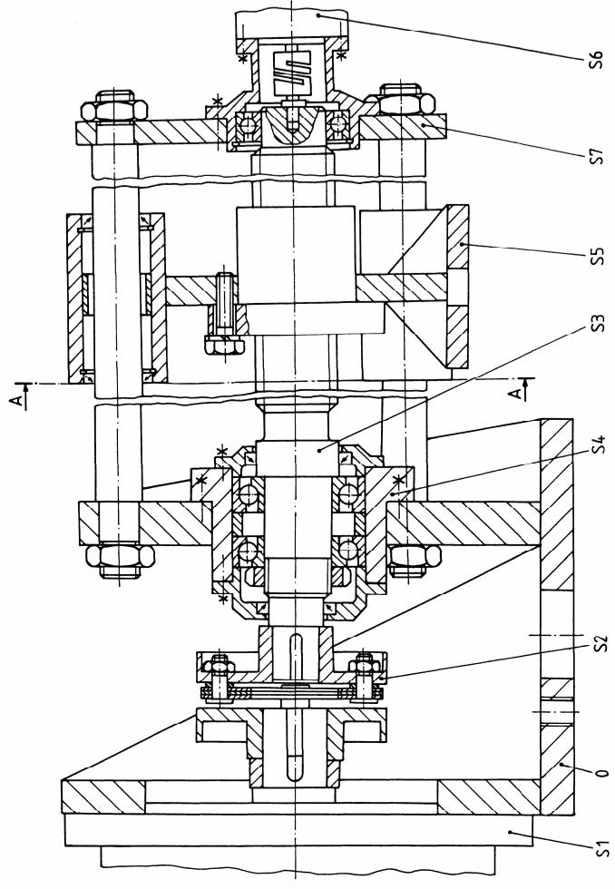
O variantă constructivă a schemei structural-constructive de ansamblu din Subcap.T.2.1 este prezentată în secțiune axială și transversală în fig. 1. La conceperea elementelor și subansamblelor soluției constructive, proiectantul trebuie facă o analiză critică a mai multor variante posibile, având la bază mai multe soluții constructive existente, precum și informații calitative și cantitative despre diversele elemente constructive și subansamble specializate, posibil a fi incluse.

                          

Fig. 1 Soluția constructivă a modulului de translație

 

În tab. 1 se prezintă sintetic subansamblele și elementele constructive componente ale ansamblului modulului de translație, cu schema bloc prezentată în fig. 2, cu precizarea denumirii, tipului și a funcțiilor principale ale acestora.

 

Tab. 1 Subansamble și elemente constructive

 

 

Fig. 2 Subansamblele și elementele constructive ale ansamblului