| 
   Buzdugan I.D.,
  Mogan Gh.L. Proiectarea roboților. Universitatea Transilvania din Brașov  | 
 
| 
   Subcap.R.2.3 Soluție constructivă și
  analiza structurală a modulului de rotație cu reductor armonic  | 
 
| 
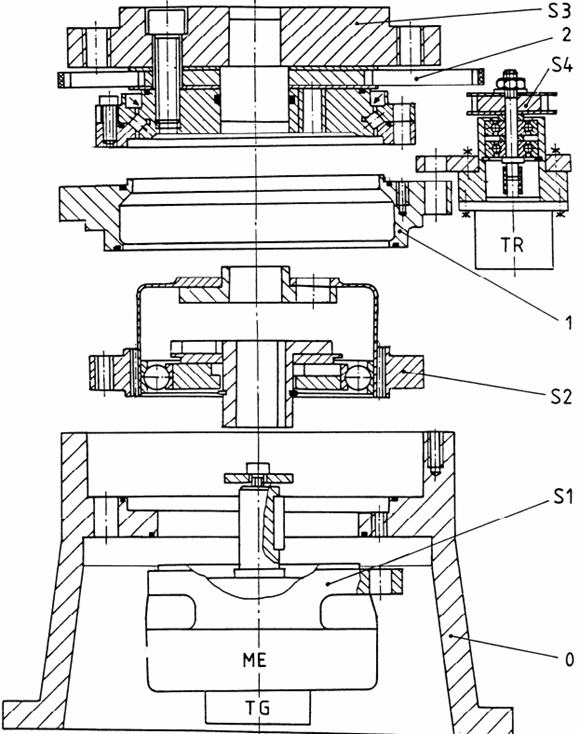
   Soluție constructivă În fig. 1 se prezintă o variantă constructivă a schemei structural constructive de ansamblu din Subcap.R.2.1. La conceperea schemei structural-constructive adecvate și adoptarea elementelor constructive și subansamblelor, proiectantul trebuie să facă o analiză critică a mai multor variante posibile, avînd la bază mai multe soluții constructive existente și informații calitative și cantitative despre diversele elemente constructive și subansamble specializate și/sau specifice, posibil a fi incluse. 
                        Fig. 1 Soluția constructivă a modulului de rotație În tab. 1 se prezintă sintetic subansamblele și elementele constructive componente ale ansamblului modulului de translație, cu schema bloc prezentată în fig. 2, cu precizarea denumirii, tipului și a funcțiilor principale ale acestora. Tab. 1 Subansamble și elemente constructive 
 
 Fig. 3 Subansamblele și elementele constructive ale ansamblului  |