CUP. CUPLAJE MECANICE

CUP-T. CONSTRUCŢIA ŞI MODELAREA CUPLAJELOR MECANICE (continuare)

 

CUP-T.8.1.2.4 Cuplaje permanente mobile rigide pentru compensarea abaterilor combinate (axiale, radiale şi ungiulare)

 

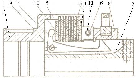
Din categoria acestor cuplaje reprezentative sunt cuplajele dinţate (tab.  CUP-T.8.1.2.4.1) care pot compensa, concomitent, toate tipurile de abateri.

 

Tab. CUP-T.8.1.2.4.1 Cuplaj dinţat

 

 

 

 Funcţionare şi construcţie

Momentul de torsiune se transmite de la semicuplajul conducător 1 (cu dantură exterioară bombată) prin contacte multiple (formă) la manşonul conducător 3 (cu dantură interioară), prin asamblarea cu şuruburi montate cu joc 5 la manşonul condus 7 (cu dantură interioară) şi, de asemenea, prin contacte multiple (formă) la semicuplajul condus 2 (cu dantură exterioară bombată). Prin forma bombată (fig. CUP-T.8.1.2.4.1, b) a danturii  semicuplajelor montate pe arbori se menţin contactele  între dinţi permanent şi în cazul unor abateri unghiulare mari. Aceste cuplaje sunt capabile să transmită momente de torsiune mari la dimensiuni de gabarit reduse, datorită contactelor simultane dintre toţi dinţii conjugaţi ai pieselor de legătură. Momentul de torsiune transmis de cuplaj scade cu creşterea abaterii unghiulare, deoarece în acest caz creşte mult şi lucrul mecanic de frecare din contacte, cu consecinţe asupra uzării şi încălzirii cuplajului. Pentru reducerea frecărilor cuplajul se unge cu unsoare consistentă (sau pentru anumite situaţii funcţionale cu ulei) care se introduce în zona contactelor prin gaura filetată (astupată cu dopul 6) şi care este împiedicată să fie expulzată de capacele 8 şi etanşările mobile cu inel O. Buna funcţionare (fără zgomote), mai ales la viteze mărite, este asigurată de precizii mărite ale danturilor (cu profil evolventic) şi de montarea coaxială a danturilor interioare prin intermediul inelului de centrare 4. 

  a

 b

 Fig. CUP-T.8.1.2.4.1 Soluţia constructivă a cuplajului dinţat

 

CUP-T.8.1.3 Cuplaje permanante mobile elastice

 

CUP-T.8.1.3.1 Cuplaje permanente mobile elastice cu elemente deformabile metalice

 

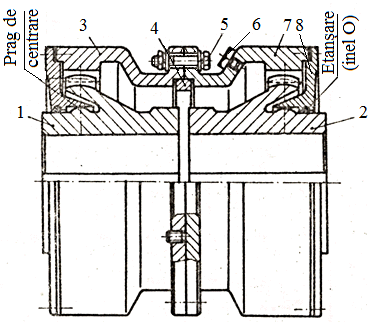
Cuplaje cu arcuri bară (Forst)

          

                                      a                                                                    b

 

Funcţionare şi construcţie.  Momentul de torsiune se transmite prin formă de la semicuplajul conducător 1 la semicuplajul condus 2 prin intermediul arcurilor bară montate în alezaje evazate cu profil liniar (alezaj conic cu generatoare linie dreaptă) – caracteristica elastică compusă din două segmente de dreaptă cu pante diferite determinate de încovoierea barelor cu lungimile de încastrare l1 şi l2 – sau curbiliniu (alezaj conic cu generatoare curbilinie) – caracteristica elastică compusă dintr-un segmentul neliniar, determinat de încovoiarea cu lungimea de încastrare variabilă lx Є [l1, l2],  şi un segment de dreaptă, determinat de încovoierea barelor cu lungimea de încastrare l1.

Aceste cuplaje pot compensa abateri axiale şi unghiulare ale arborilor cuplaţi prin deplasări relative dintre semicuplaje şi arcurile bară. Pentru reducerea uzurilor care apar în timpul funcţionării zona arcurilor bară se unge cu unsoare consistentă şi pentru evitarea expulzării acesteia se prevăd carcasele de protecţie 4 şi 5 cu inelele de etanşare 6.

 

Fig. CUP-T.8.1.3.1.1 Soluţia constructivă a cuplajului elastic cu arcuri bară (Forst): a – semivedere şi semisecţiune axială; b – caracteristici elastice

Cuplajul cu arcuri elicoidale  (Cardeflex)

        

                                                            a                                                                               b

 

Funcţionare şi construcţie.

Momentul de torsiune se transmite prin formă de la semicuplajul conducător 1 prin bolţurile 4 la segmenţii 5 şi apoi prin arcurile elicoidale 3 la segmenţii 5 şi bolţurile 4 montate pe semicuplajul condus la semicuplajul condus 2.  Caracteristica elastică este compusă din două segmente de dreaptă, unul corespunzător perioadei de deformare a arcurilor elicoidale cu sageata Δ > 0 (rigiditate constantă) şi celălalt apare la momente de torsiune mai mari ca urmare a contactului direct dintre cepurile de ghidare ale segmenţilor 5 (Δ =  0, rigiditate infinită).  

 

Fig. CUP-T.8.1.3.1.2 Soluţia constructivă a cuplajului elastic cu arcuri arcuri elicoidale (Cardeflex): a – secţiune axială şi vedere frontală; b – caracteristica elastică

 

 

CUP-T.8.1.3.2 Cuplaje permanente mobile elastice cu elemente nemetalice

 

Cuplaje elastice cu bolţuri

 

Fig. CUP-T.8.1.3.2.1  Soluţia constructivă a cuplajului elastic cu bolţuri

Funcţionare şi construcţie. Momentul de torsiune se transmite de la semicuplajul de intrare 1 prin formă la bolţurile 3 şi prin manşoanele (inelele) din cauciuc 4 la semicuplajul 2. Manşoanele din cauciuc sunt fixate axial prin intermediul rondelelor 5 şi inelelor elastice 6.

Utilizare Aceste cuplaje permit compensarea abaterilor radiale, ΔR = 0,3…0,6 mm, unghiulare, Δα ≤ 1o şi a unor abateri axiale în limitele menţinerii contactelor dintre  manşoanele din cauciuc şi alezale semicuplajului 1.

Relaţii de calcul de bază

Condiţia de rezistenţa la strivire a elementului elastic (manşonul din cauciuc), în ipoteza repartizării uniforme a  sarcinii pe cele z bolţuri, este dată de relaţia,

 ,                                                                                              (CUP-T.10)

în care: Mtc reprezintă momentul de torsiune de calcul; F1forţa care revine unui bolţ; db, lb - diametrul, respectiv, lungimea alezajului manşonului D1 – diametrul de dispunere a bolţurilor; σstensiunea maximă de strivire; σastensiunea admisibilă la strivire a cauciucului (5…7 MPa).

Condiţia de rezistenţa la încovoiere a bolţului, în condiţiile abaterilor unghiulare maxime (se consideră lungimea de încastrare maximă, lb) ,

,                                                                                         (CUP-T.11)

 unde: σîtensiunea maximă de încovoiere, σtensiunea admisibilă la încovoiere (0,25…0,4)σ02 [MPa])

Cuplaje elastice cu bandaj din cauciuc (Periflex)

 

 

Fig. CUP-T.8.1.3.2.2  Soluţia constructivă a cuplajului elastic cu bandaj din cauciuc

 

Funcţionare şi construcţie. Momentul de torsiune se transmite de la semicuplajul de intrare 1 prin frecare la bandajul 3 şi de la acesta de asemenea prin frecare la semicuplajul 2. Bandajul din cauciuc este fixat pe cele două semicuplaje prin intermediul discurilor 4 strânse axial cu şuruburile 5.

Utilizare Aceste cuplaje permit compensarea abaterilor radiale, ΔR = 2…6 mm, unghiulare, Δα ≤ 2o…6o şi  axiale Δl = 3…6 mm. În plus, asigură o bună amortizare a şocurilor şi vibraţiilor având o mare capacitate de acumulare a energiei de şoc datorită volumului mărit a elementului elastic.

Relaţii de calcul de bază

Condiţia de transmitere a momentului de torsiune prin frecare,

Mtc Mf = µ i zş Fş ,                                                                                              (CUP-T.12)

 

în care, μ este coeficientul de frecare dintre bandaj (din cauciuc) şi semicplaj sau disc (din oţel),  D1 şi D2 diametrele minim şi maxim, ale suprafeţelor de frecare, inumărul de suprafeţe de frecare (pentru cazul din fig.  i = 2), zş - numărul de şuruburi, Fş – forţa de strângere a unui şurub.

Condiţia de rezistenţă la strivire a bandajului,

σs =  ≤ σas ,                                                                                                              (CUP-T.13)

 

unde, Fş forţa de strângere a unui şurub, se determină din relaţia (CUP-T.12); σstensiunea maximă de strivire, σastensiunea admisibilă la strivire a cauciucului (5…7 MPa).

Condiţia de rezistenţă la forfecare a bandajului,

 ,                                                                                                                         (CUP-T.14)

 

unde,  τftensiunea maximă de forfecare, τaf tensiunea admisibilă la forfecare a cauciucului (0,3…0,5 MPa).

 

CUP-T.8.2 CUPLAJE INTERMITENTE

 

CUP-T.8.2.1 Cuplaje intermitente comandate

 

CUP-T.8.2.1.1 Cuplaje intermitente comandate cu  transmiterea sarcinii prin formă (contact direct)

 

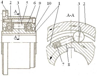
Aceste cuplaje transmit momentul de torsiune prin contactul direct dintre proeminenţe existente pe cele două semicuplaje; reprezentative pentru această sunt cuplajele cu dantură radială (tab. CUP-T.8.2.1.1.1) şi cu dantură frontală.

 

 Tab. CUP-T.8.2.1.1.1 Cuplaj intermitent cu dantură radială comandat mecanic

 

 

       

                   a                                b

 

                         

 

                   c                             d

 Funcţionare şi construcţie

În starea cuplat momentul de torsiune se transmite de la arborele 1, prin canelură la semicuplajul danturat la exterior 7, prin dantură (fig.  CUP-T.8.2.1.1.2,d) la mufa 6, prin dantură la roata dinţată 3. În starea decuplat  roata dinţată 3 se roteşte liber pe arbore sprijinită radial de cuzinetul 6 şi axial de cuzineţii 2 sau 5.

Pentru uşurarea cuplării/decuplării se practică rotunjirea frontală a dinţilor şi scurtarea lungimii a fiecărui al doilea dinte de la exterior, precum şi eliminarea fiecărui al doilea dinte de la interior  (fig.  CUP-T.8.2.1.1.2)

În cazul în care cuplarea se realizează în condiţii de mişcare sincronă a elementelor cuplate, apar şocuri torsionale, care conduc la funcţionarea necorespunzătoare a transmisiel precum şi la solicitări suplimentare ale acesteia. Viteza relativă la care poate avea loc cuplarea este limitată de şocurile ce apar în transmisie; pentru mărirea vitezei relative de cuplare se pot adopta soluţii constructive combinate cu sincronizatoare cu fricţiune.

 

 

Fig. CUP-T.8.2.1.1.1 Cuplaj intermitent  cu dantură radială

  Fig. CUP-T.8.2.1.1.2 Procesul de cuplare:  a – iniţial, necuplat; b – intermediar, deplasare axială fără rotire; c – intermediar, deplasare axială cu rotire; d - final, cuplat

 

CUP-T.8.2.1.2 Cuplaje intermitente comandate cu  transmiterea sarcinii prin frecare

 

Cuplaje  multidisc (cu suprafeţe plane) prin frecare comandate

 

 

 

 

                          a               

          

    b

 

c

 

                                           d                                         e

           

 Fig. CUP-T.8.2.1.2.1Cuplaje multidisc cu fricţiune comandate: a – comandă mecanică; b – comandă electromagnetică; c - modelul de calcul

Funcţionare şi construcţie. 

Varianta din fig. CUP-T.8.2.1.2.1,a.

Momentul de torsiune se transmite de la semicuplajul conducător 1 prin canelură la discurile conducătoare 3, prin fricţiune la discurile conduse 4 şi de la acestea prin canelură la semicuplajul condus 2. Forţa de apăsare (fig.  c) se realizează prin intermediul plăcii de presiune 5 sub acţiunea pârghiilor 9 susţinute de bolţurile 9 şi apăsate de mufa de comandă 8. Cuplarea/decuplarea se face prin deplasarea axială a mufei de comandă 8 care acţionează/eliberează pârghiile 7.  Reglarea forţei de apăsare (presiunii de contact) precum şi compensarea uzurilor se face cu ajutorul discului de reazem 6 care are forma unei piuliţe secţionată  şi blocată cu şurubul 11 montat tangenţial.  Desprinderea discurilor la decuplare este realizată de arcurile profilate 10.

Varianta din fig. CUP-T.8.2.1.2.1,b.

Momentul de torsiune se transmite de la semicuplajul conducător 1 prin canelură la discurile conducătoare 3, prin fricţiune la discurile conduse 4 şi de la acestea prin canelură la semicuplajul condus 2. Forţa de apăsare (fig.  c) se realizează prin intermediul câmpului electromagnetic generat de bobina 5 alimentată prin inelul colector 7. Cuplarea/decuplarea se face prin cuplarea/decuplarea (manual sau automat) a circuitului de alimentare a bobinei.  Reglarea forţei de apăsare (presiunii de contact) precum şi compensarea uzurilor se face cu discului de reazem 8 care are forma unei piuliţe secţionată  şi blocată cu şurubul montat tangenţial, 9. Desprinderea discurilor la decuplare este realizată de ştifturile 10 acţionate de arcurile 11.

Relaţii de calcul de bază

Parametrii geometrici funcţionali caracteristici sunt asociaţi suprafeţelor de frecare inelare cu diametrul interior, Di,  diametrul exterior, De, diametrul mediu, De = (Di + De)/4, şi lăţimea, b.

Ipoteze simplificatoare:  sarcina se repartizează egal pe suprafeţele de frecare;  forţa de apăsare a discurilor se repartizează egal pe perechile de discuri; formele de variaţie a presiunii şi/sau uzării pe suprafeţele de active se pot sintetiza în două variante:

     a. distribuţia uniformă a presiunii, (v. Obs.)

     b. distribuţia uniformă a uzurii (presiunea este distribuită neuniform, v. Obs.).

Condiţia de rezistenţă la strivire a suprafeţelor active ale discurilor, se poate verifica cu una dintre relaţiile:

,                                       (CUP-T.16)

pentru cazul a. (distribuţia uniformă a presiunii pe suprafeţele active),

,                                                                    (CUP-T.17)

pentru cazul b. (distribuţia uniformă a uzurii pe suprafeţele active), în care, pmax reprezintă presiunea maximă pe suprafeţele active; Fc – forţa normală de apăsare (cuplare), b  – lăţimea suprafeţelor de frecare, Didiametrul interior, Dediametrul exterior; σa – tensiunea admisibilă de contact (strivire) a cuplului de materiale ale discurilor (de ex. oţel - oţel, materiale sinterizate - oţel călit, fontă - oţel călit; σas = 1...3 MPa, fără ungere (frecare uscată);  pa = 0,2...0,5 MPa - presiunea admisibilă a lubrifiantului, pentru cazul cu ungere.

Condiţia de transmitere a momentului de torsiune prin frecare, se poate verifica cu una dintre relaţiile:

,        (CUP-T.18) 

pentru cazul a. (distribuţia uniformă a presiunii pe suprafaţele active) fără ungere,

       (CUP-T.19) 

pentru cazul a. (distribuţia uniformă a presiunii pe suprafaţele active) cu ungere,

,                 (CUP-T.20) 

pentru cazul b. (distribuţia uniformă a uzurii pe suprafaţele active) fără ungere,

,                 (CUP-T.21) 

pentru cazul b. (distribuţia uniformă a uzurii pe suprafaţele active) cu ungere,

în care: Mt reprezintă momentul de torsiune transmis prin frecare, Mtc – momentul de torsiune de calcul; Ff – forţa de frecare corespunzătoare unei suprafeţe active; i – numărul suprafeţelor de frecare; Dm = (De+Di)/2 diametrul mediu, ψ =b/Dm – factorul de lăţime al suprafeţelor de frecare (De= (1+ψ) Dm, Di = (1-ψ) Dm); μ – coeficientul de frecare al cuplului de materiale în contact (de ex. pentru cazul oţel-oţel, μ = 0,1-0,15 cu ungere sau μ = 0,15-0,4 fără ungere;  μ = 0,2-0,5 pentru cazul disc din oţel şi garnitură din răşini sintetice cu fibră de carbon fără ungere (ambreiaje) )

Obs.  

1.      Valoarea uzurii este direct proporţională cu presiunea şi este dependentă de viteză; uzarea uniformă conduce la distribuţia neuniformă a presiunii cu valoarea maximă la diametrul minim (Di ).

2.      Distribuţia uniformă a presiunii se apropie de realitate doar în cazul suprafeţelor de frecare în stare nouă sau în cazul în cazul soluţiilor constructive cu element elastic ce menţie presiunea uniform distribuită (de ex. discul de fricţiune al ambreiajului principal al automobilului).

3.      Ipoteza uzurii uniforme, în geneal, este mai apropiată de procesele reale, în eventualitatea că totuşi cuplajul ar avea distribuţie uniformă a presiunii , abaterea care rezultă constă într-o supradimensionare în ce priveşte presiunea efectivă - deci o uzare mai redusă - şi o subdimensionare, de valoare mică - în ce priveşte momentul capabil, acoperită de coeficientul de siguranţă folosit uzual [Achiriloaie, 1985].

4.      Coeficientul de lăţime, Ψ, are valoarea optimă Ψopt = 0,27 [Achiriloaie, 1985].

5.      Având în vedere că forţele de frecare care apar în canelurile sepicuplajelor şi cele ale discurilor determină forţa de apăsare între discuri, astfel că în cazul numărului mare de discuri, ultimele sunt prea puţin apăsate reciproc, şi aportul lor la transmiterea momentului de torsiune este mai mic decât influenţa lor asupra creşterii greutăţii cuplajului, momentului său de inerţie etc.

6.      Recomandări constructive: numărul de suprafeţe de frecare, i < 6, pentru funcţionare uscată şi i ≤ 16, pentru funcţionarea cu ungere; în cazul i > 1 se adoptă pentru i valori  pare  şi numerele discurilor conduse, z2 = i/2, respectiv, conducătoare z1 = z2+1.

7.     Valoarea forţei de apăsare (cuplare) Fc, determinată din condiţia de transmitere a momentului de torsiune prin frecare (v. relaţiile CUP-T.18...CUP-T.21), va verifica şi condiţia de rezistenţă la strivire a suprafeţelor active (v. relaţiile CUP-T.16 şi CUP-T.17) 

 

CUP-T.8.2.1.3 Cuplaje intermitente automate

 

Cuplaje de siguranţă

 

 

 

 

a

 

 

b

 

Fig. CUP-T.8.2.1.3.1 Cuplaje automate de siguranţă: a – cu ştifturi de forfecare; b –  multidisc prin fricţiune

Varianta din fig. CUP-T.8.2.1.3.1,a

Funcţionare şi construcţie.  Momentul de torsiune se transmite prin formă de la semicuplajul conducător 1 prin pastilele 3, la ştifturile de forfecare 3 şi de la acestea prin pastilele 5 la semicuplajul condus 2. Dopurile 6 au rolul să împidice deplasarea axială a subansamblului a pastilelor 4  şi a ştiftului de forfecare 3.

Relaţii de calcul de bază

Condiţia limitării momentului de torsiune transmis,

Mtlim = z Ffor   =  z τr Afor   =  z τr    ,         (CUP-T.22)

 

în care, Mtlim= K Mt este momentul de torsiune limită (K = 1,05…1,25 - factor de siguranţă la întrerupere); Ffor – forţa de rupere prin forfecare a unui ştift, Afor – aria secţiunii de rupere prin forfecare a unui ştiftului, D0 – diametrul de dispunere a stifturilor de forfecare, d1 – diametrul ştifturilor de forfecare, z – numărul ştifturilor de forfecare, τr – tensiunea de rupere prin forfecare a materialului ştiftului.

Varianta din fig. CUP-T.8.2.1.3.1,b

Funcţionare şi construcţie.  Momentul de torsiune se transmite de la semicuplajul conducător 1 prin canelură la discurile conducătoare 3, apoi, prin frecare la discurile conduse 4 şi de la acestea prin canelură la  semicuplajul condus 2. Forţa de apăsare, necesară generării forţelor de frecare, este realizată de arcul elicoidal 5 precomprimat de piuliţa secţionată 6, asigurată de şurubul montat tangenţial 7.

Relaţii de calcul de bază

Condiţia limitării momentului de torsiune transmis (v. rel CUP-T.18, CUP-T.19), se poate verifica cu relaţiile:

,                                                                                      (CUP-T.23)

pentru cazul distribuţiei uniforme a presiunii fără ungere,

,                                                                                       (CUP-T.24)

pentru cazul distribuţiei uniforme a presiunii cu ungere,

,                                                                            (CUP-T.25)

pentru cazul distribuţiei uniforme a uzurii fără ungere,

,                                                                            (CUP-T.26)

pentru cazul distribuţiei uniforme a uzurii cu ungere, în care, Mtlim= K Mt reprezintă momentul de torsiune limită (K = 1,05…1,25 - factor de siguranţă la întrerupere);  i – numărul de suprafeţe de frecare; μ – coeficientul de frecare al cuplului de materiale în contact (de ex. pentru oţel-oţel, μ = 0,1-0,15 pentru cazul cu ungere sau μ = 0,15-0,3 pentru cazul fără ungere); Didiametrul interior;  Dediametrul exterior; Dm = (De+Di)/2 diametrul mediu; ψ = b/Dm – factorul de lăţime a suprafeţelor de frecare, σas  – tensiunea admisibilă de contact (strivire) a cuplului de materiale ale discurilor (de ex. oţel - oţel, materiale sinterizate - oţel călit, fontă - oţel călit σas = 1...3 MPa, fără ungere (frecare uscată);  pa = 0,2...0,5 MPa - presiunea admisibilă a lubrifiantului, pentru cazul cu ungere.

Forţa de precomprimare a  arcului  se determină cu relaţia,

                                                                                    (CUP-T.27)

 

 

 

Cuplaje limitatoare de turaţie şi de sens

 

 

 

 

Fig. CUP-T.8.2.1.3.2 Cuplaj automat limitator de turaţie

 

 

 

Fig. CUP-T.8.2.1.3.3 Cuplaj automat limitator de sens

Varianta din fig. CUP-T.8.2.1.3.2 La pornire odată cu creşterea turaţiei semicuplajului conducător 2, forţa centrifugă acţionează asupra saboţilor 3 şi astfel se generează o forţă de apăsare pe suprafaţa cilindrică interioară a semicuplajului 1 şi, deci, începerea transmiterii momentului de torsiune (cuplarea acestuia).  La scăderea turaţiei forţa centrifugă care acţionează asupra saboţilor scade şi se întrerupe transmiterea momentului de torsiune. Arcurile 5 asigură decuplarea fermă în cazul lipirii adezive a bandajului 4 pe suprafaţa de contact.

Varianta din fig. CUP-T.8.2.1.3.3. Pentru sensul de rotaţie indicat în figură, momentul de torsiune se transmite de la semicuplajul conducător 1 prin rolele cilindrice  3 la semicuplajul 2, apoi prin asamblarea cu şuruburile 5, montate cu joc, la flanşa 4. La schimbarea sensului de rotaţie rolele 2 se eliberează (deîmpăneză) şi se întrerupe transmiterea momentului de torsiune apărând mişcare de rotaţie relativă dintre cele două semicuplaje (1 şi 2) poziţionate radial de rulmenţii 6 fixaţi axial de asamblarea cu şuruburi 5 între flanşa 4 şi capacul 9. Pentru realizarea unei cuplări (împănări) rapide rolele 3 sunt apăsate de ştifturile 8 împinse de arcurile 7