AAB. ASAMBLĂRI ARBORE-BUTUC

AAB-T. CONSTRUCŢIA ŞI MODELAREA ASAMBLĂRILOR ARBORE-BUTUC

AAB-T.1 ASAMBLĂRI PRIN FORMĂ

AAB-T.1.5 ASAMBLĂRI PRIN INELE ELASTICE

 

            CUPRINS

AAB-T.1.5.1 DEFINIRE

AAB-T.1.5.2  STRUCTURA CONSTRUCTIVĂ

AAB-T.1.5.3  DOMENII DE UTILIZARE, AVANTAJE ŞI DEZAVANTAJE

AAB-T.1.5.4  CLASIFICARE

AAB-T.1.5.5  MATERIALE ŞI TEHNOLOGII    

AAB-T.1.5.6  FORME ŞI CAUZE DE SCOATERE DIN UZ SAU DE COMPORTARE NECORESPUNZĂTORE

AAB-T.1.5.7  PARAMETRII FUNCŢIONALI ŞI CONSTRUCTIVI

AAB-T.1.5.8  MODELE DE CALCUL

AAB-T.1.5.9  MONTAJUL ŞI EXPLOATAREA

 

AAB-T.1.5.1 DEFINIRE

 

Asamblarea prin inel elastic  este legătura demontabilă, de tip rezemare, care împiedică deplasarea axială prin preluarea (transmiterea) forţei  axiale prin formă de  inelul elastic montat pe arbore sau în alezaj (fig. AAB-T.1.5.2.1). 

 

AAB-T.1.5.2  STRUCTURA CONSTRUCTIVĂ

 

 

a

b

Fig. AAB-T.1.5.2.1 Inele elastice: a – de tip arbore; b – de tip alezaj

 

AAB-T.1.5.3 DOMENII DE UTILIZARE, AVANTAJE ŞI DEZAVANTAJE

 

Domenii principale de utilizare: pentru fixarea unor roţi dinţate, rulmenţi, distanţiere etc.

 

Tab. AAB-T.1.5.3.1 Avantaje şi dezavantaje asamblărilor pri inele elastice

Avantaje*

Dezavantaje*

-         simple din punct de vedere constructiv;

-         montare şi demontare uşoară

-         preiau forţe axiale reduse;

-         imposibilitatea de reglare a poziţiei axiale

 

AAB-T.1.5.4 CLASIFICARE

Tab. AAB-T.1.5.4.1 Clasificarea asamblărilor prin inele elastice [Jula, 1986; Rădulescu, 1981]

Criteriul

Tipul asamblării

Schema

Elementul pe care se montează

Pentru arbore

Fig. AAB-T.1.5.4.1, AAB-T.1.5.4.3, AAB-T.1.5.4.5   

Pentru alezaj

Fig. AAB-T.1.5.4.2, AAB-T.1.5.4.2, AAB-T.1.5.4.4    

Procedeul tehnologic

Strunjite

Fig. AAB-T.1.5.4.1, AAB-T.1.4.4.2

Ştanţate

Fig. AAB-T.1.5.4.5

Deformate plastic

Fig. AAB-T.1.5.4.3, AAB-T.1.5.4.4, AAB-T.1.5.4.6    

Modul de montare

Axial

Fig. AAB-T.1.5.4.1, AAB-T.1.5.4.2, AAB-T.1.5.4.3,  AAB-T.1.5.4.4  

Radial

Fig. AAB-T.1.5.4.5, AAB-T.1.5.4.6

 

 

     

a

b

c

a

b

Fig. AAB-T.1.5.4.1  Inele elastice excentrice cu urechi : a – pentru arbori cu d  10 mm ; b – pentru arbori cu  10 < d  165 mm; a – pentru arbori cu d > 165 mm

Fig. AAB-T.1.4.4.2 Inele elastice excentrice cu urechi : a – pentru alezaje cu D  165 mm; b – pentru alezaje cu  D > 165 mm

 

Fig. AAB-T.1.5.4.3  Inele elastice din sârmă deformată plastic pentru arbori mici

Fig. AAB-T.1.5.4.4  Inele elastice din sârmă deformată plastic de tip alezaj

 

Fig. AAB-T.1.5.4.5  Inele elastice ştanţate de tip arbore

Fig. AAB-T.1.5.4.6  Inele elastice din sârmă deformată plastic pentru arbori mari

 

 AAB-T.1.5.5  MATERIALE ŞI TEHNOLOGII

 

Pentru asigurarea capacităţii de deformare elastică necesară la montaj se utilizează următoarele grupe de materiale:

-         oţeluri de arc (C55) cu duritate de 40-45 HRC;

-         oţeluri aliate cu crom, siliciu şi vanadiu (de ex. 50VCr11 ) pentru inele care trebuie să reziste la temperaturi ridicate;

-         bronzuri cu beriliu pentru inelele supuse unor agenţi corozivi

 

Tab. AAB-T.1.4.5.1  Procedee de prelucrare a inelelor elastice şi canalellor

Procedee pentru inele elastice

Procedee pentru canalele din arbore sau alezaj

Strunjire, ştanţare, deformare plastică, rectificare

Strunjire, rareori frezare

 

AAB-T.1.5.6 FORME ŞI CAUZE DE SCOATERE DIN UZ SAU DE COMPORTARE NECORESPUNZĂTORE

 

Tab. AAB-T.1.5.6.1 Forme şi cauze de scoatere din uz sau de comportare necorespunzătoare

Forme

Consecinţe

Apariţie

Cauze

Manifestare

Evitare

Deteriorarea flancurilor canalelor din arbore şi butuc prin strivire (deformare plastică)

Blocarea asamblării şi împiedicarea demontării

La arborii şi butucii din materiale moi puternic încărcate

Depăşirea tensiunilor de strivire ale materialelor

Deteriorarea suprafeţelor active ale flancurilor în zonele laterale de contact cu arborele  şi, eventual, cu butucul 

Limitarea prin calcul a tensiunilor de strivire la valori admisibile

 

AAB-T.1.5.7 PARAMETRI FUNCŢIONALI ŞI CONSTRUCTIVI

 

         

a

b

c

d

Fig. AAB-T.1.5.7.1 Geometria inelelor elastice şi canalelor din arbore şi alezaj  [Rădulescu, 1981]

 

AAB-T.1.5.8 MODELE DE CALCUL   

 

Ipoteze de calcul şi solicitări:

-   forţa axială Fa se transmite prin formă prin contactul dintre inelul elastic şi faţa laterală a canalului pe care apare  presiunea p ce se consideră uniform distribuită şi se impune un calcul la strivire;

-   se neglijează solicitarea de încovoiere a inelului.

Condiţia de rezistenţă la strivire a  asamblării cu inel elastic montat în arbore sau în butuc

    =      sau, respectiv,      =                               (AAB-T.1.5.8.1.1) 

 

unde, Fa [N] este forţa axială;  d [mm] – diametrul arborelui; D [mm] – diametrul alezajului; hd [mm] – înălţimea canalului în arbore; hD [mm] – înălţimea canalului în butuc; σas [MPa] - tensiunea admisibilă de strivire a materialululi cel mai moale (uzual, 100 MPa).

Condiţia de rezistenţă la forfecare a inelului  elastic montat în arbore sau în butuc

    =      sau, respectiv,     =                                     (AAB-T.1.5.8.1.2) 

 

unde, Fa [N] este forţa axială;  b [mm] este grosimea inelului; τaf [MPa] - tensiunea admisibilă la forfecare a materialululi inelului (uzual, 80…100 M MPa)

a

b

Fig. AAB-T.1.5.8.1.1 Modelul de calcul de rezistenţă: a – inel montat în arbore; b – inel montat în butuc

 

AAB-T.1.5.9  MONTAJUL ŞI EXPLOATAREA

 

 

a

b

c

d

Fig. AAB-T.1.5.9.1  Montarea axială a inelelor elastice de tip arbore: a – extensie radială şi deplasare axială; b – extensie radială şi basculare

Fig. AAB-T.1.5.9.2  Montarea axială a inelelor elastice de tip alezaj: a – comprimare radială şi deplasare axială; b – comprimare  radială şi basculare

Obs. Pentru montarea inelelor în canalul din arbore sau din butuc se recomandă teşirea suprafeţelor, cu unghiul α = 30o pe porţiunile s = 0,1d (D)

 

 

 

Fig. AAB-T.1.5.9.3  Montarea radială a inelelor elastice

a

b

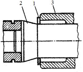
Fig. AAB-T.1.5.9.4  Dispozitive ghidare pentru montarea axială a inelelor elastice: a – de tip arbore; b – de tip alezaj

Obs. În cazul folosirii dispozitivelor pentru montarea axială (fig. AAB-T.1.5.9.4) inelul 1 este extins (comprimat) de tija (bucşa) conică 2, ca urmare a împingerii axiale de poansonul 3.