Buzdugan I.D., Mogan Gh.L. Proiectarea roboților ficși. Universitatea Transilvania din Brașov

 

Anexa.7.1 Aspecte generale privind ghidajele modulelor de translație ale roboților

 

Lagăre de translație (ghidaje) cu rostogolire

Subansamblele care materializează cuplele cinematice de translație sunt frecvent numite ghidaje. Acestea, pe lângă faptul că asigură deplasarea relativă de translație cu viteza vx (fig.1) a saniei în raport cu baza, au și rolul de a prelua și torsorul forțelor de reacțiune [0 Fy Fz Mx My Mz].

Fig. 1 Mișcarea și forțele de reacțiune dintr-un ghidaj

 

Determinante pentru corecta funcționare a sistemelor din care fac parte și, în special, pentru precizia de funcționare a acestora, ghidajele trebuie să îndeplinească următoarele condiții:

-        pozițiile spațiale ale suprafețelor active (căilor de rulare) care formează cupla cinematică trebuie astfel alese încât reacțiunile să fie minime;

-        forma, dimensiunile suprafețelor de contact și condițiile funcționale trebuie să asigure distribuții ale presiunilor de contact cât mai apropiate de cea uniformă și evident fără depășirea presiunilor admisibile;

-        deformațiile elementelor care formează ghidajele trebuie să rămână în limite admise, impuse, în special, de precizia de funcționare;

-        rezistența mărită la uzare a materialelor folosite, pentru a se asigura menținerea îndelungată a preciziei de funcționare și pentru a se evita recondiționări frecvente;

-        construcția trebuie să permită reglarea jocului dintre elementele în mișcare relativă, precum și compensarea uzurilor suprafețelor active;

-        sistemul de ungere trebuie să asigure condiții de ungere invariante de poziția suprafețelor active în spațiu.

 

Construcția ghidajelor cu rostogolire

Luând în considerare particularitățile geometrico-constructive din zonele active în care apar mișcările relative, soluțiile constructive ale ghidajelor cu rostogolire se diferențiază prin tipul corpurilor de rostogolire, care pot fi bile (fig.2,a,b,c,d) sau role cilindrice (fig.2,e,f), prin tipul contactelor neconforme dintre căile de rulare și corpurile de rostogolire, care pot fi punctiforme (fig.2,a,b,d) sau după o linie (fig.2,c,e,f) - pentru sarcini mărite - și prin existența (fig.2,a,f) sau inexistența (fig.2,b,c,d) coliviei de ghidare a corpurilor de rostogolire.

Fig. 2 Tipuri de corpuri de rostogolire și contacte mecanice

 

După modul de deplasare a corpurilor de rostogolire, ghidajele pot fi cu recircularea (fig.3,d) sau fără recircularea acestora (fig.3,a,b,c). Ghidajele fără recirculare se pot întâlni în varianta constructivă cu fixarea setului de corpuri de rostogolire la calea de rulare scurtă (fig.3,a) sau la cea de lungime mare (fig.3,b) și fără fixarea acestuia (fig.3,c). Varianta din fig. 3,a, în care corpurile de rostogolire rămân tot timpul în contact cu căile de rulare, prezintă dezavantajele durabilității scăzute, frecarilor mărite și dificultăților de protejare la impurități. Soluția din fig.3,b spre deosebire de cea din fig.3,a, implică un număr mai mare de corpuri de rostogolire, care nu sunt încărcate permanent. În cazul din fig.3,c căile de rulare sunt cvasiegale ca lungime, dar mai lungi decât cursa de realizat, colivia cu corpurile de rostogolire - liberă între cele două subansamble - este mai scurtă având, în timpul funcționării, poziție variabilă și conducând la frecări, cu precădere de rostogolire, mult micșorate față de variantele precedente în care apar și fercări de alunecare semnificative.

Fig. 3 Posibilități de mișcare a corpurilor de rostogolire

 

Soluțiile constructive cu recircularea corpurilor de rostogolire (fig.3,d), prin canale adecvate, asigură frecările cele mai mici și prin construcția modulată sunt mult mai versatile și larg utilizate în construcția subsistemelor mecanice ale produselor mecatronice. Ghidajele cu recircularea corpurilor de rostogolire se folosesc cu precădere pentru curse mari, iar în cazul curselor mici se pot folosi ghidaje fără recirculare, dacă sunt acceptabile dezavantajele acestora, menționate mai sus.

 

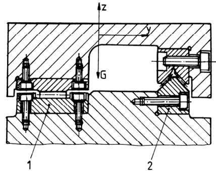
Din punctul de vedere al posibilităților de pretensionare (preîncărcare) ghidajele cu rostogolire pot fi deschise (fig.4, fără preîncărcare, corpurile de rostogolire fiind menținute în contact cu căile de rulare de greutățile subansamblului superior, solidarizat cu sarcina. Aceste ghidaje pot fi folosite pentru deplasări orizontale când sarcinile și inerțiile de încărcare apasă permanent în direcție verticală de sus în jos. Proiectarea constructivă de ansamblu a unui ghidaj presupune adoptarea unuia sau a mai multor subansamble de ghidare capabile să preia forțele torsorului reacțiunilor. Astfel, pentru ghidajul din fig.4 s-a adoptat subansamblul de ghidare 1, pentru preluarea forțelor cu direcția paralelă cu axa z și subansamblul 2, pentru forțele paralele cu axele y și z, în plus, ținînd cont și de poziția celor două subansamble de ghidare, ghidajul preia și momentele rezistente ale torsorului.

Fig. 4 Ghidaje deschise

Deoarece subansamblele de ghidare sunt compuse din piese care implică condiții severe de precizie dimensională și calitatea suprafeței, prelucrarea se realizează cu tehnologii și mașini unelte specifice, în întreprinderi specializate.

 

Ghidajele închise (fig.5) au soluții constructive care dau posibilitatea de pretensionare (preîncărcare sau încărcare inițială), cu forțe prescrise de producător, pentru anularea jocurilor, compensarea uzurilor, mărirea rigidității și pentru lărgirea domeniilor de utilizare, pentru orice poziție în spațiu și încărcări în toate direcțiile.

 

Fig.5 Ghidaje închise

 

Deoarece valorile, direcțiile și sensurile forțelor care solicită structura unui robot sunt în continuă schimbare, ghidajele cu rostogolire deschise sunt rar utilizate. Acestea se pot întâlni doar în construcția roboților în coordonate carteziene pentru ghidajele cu mișcări orizontale și încărcările pe direcție verticală de sus în jos. În cazul celorlalte situații frecvent întâlnite în funcționarea roboților industriali se utilizează cu precădere ghidaje cu rostogolire pretensionate.

 

Pretensionarea ghidajelor închise potate fi externă (v. fig.5), prin reglare la montarea subansamblelor de ghidare în cadrul ghidajului, sau internă (Anexa PT.4), realizată la montarea subansamblului de ghidare în cadrul firmei producătoare.

 

Din diversitatea de soluții constructive de ghidaje integrate sau de subansamble de ghidare, în continuare, se vor prezenta câteva produse, cu aplicabilitate în construcția roboților industriali sau a sistemelor de perirobotică.

 

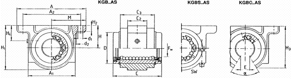
Ghidajele cu bile recirculabile sub formă de bucșă sunt folosite în aplicații de poziționare precisă fiind caracterizate de rigiditate mărită. Bucșele cu bile din fig.6 pot fi închise, varianta KB sau cu fantă de grosime g, varianta KBS, și deschise, varianta KBO (Anexa PT.3). În cazul bucșelor cu bile cu fantă și deschise pretensionarea se realizează datorită strângerii elastice a corpului metalic al bucșei împreună cu seturile de corpuri de rostogolire pe coloana de ghidare.

 

Fig. 5 Bucși cu bile recirculabile

 

Fixarea axială a bucșelor cu bile de ghidare în subansamblul lagărului se poate face cu inele elastice la exterior (fig.6,a) sau la interior (fig.6,b) și prin umăr și inel elastic (fig.6,c). Spre deosebire de bucșele cu bile recirculabile închise, la care se impune numai fixarea axială a corpului bucșei, în cazul bucșelor cu bile recirculabile deschise, este necesară și anularea rotirii acestora, utilizând un știft filetat (fig.7,a), un știft cilindric crestat (fig.7,b) sau limitatoare (fig.7,c).

 

 

Fig.6 Fixarea axială a bucșelor cu bile închise

 

Fig. 7 Fixarea axială a bucșelor cu bile deschise

 

Subansamblele de ghidare prezentate în fig.8 conțin bucșele de ghidare prezentate în fig.5 care, în plus, sunt fixate într-un corp de susținere monobloc cu talpă varianta KGB, pentru bucșele cu bile recirculabile închise și varianta KGBO, pentru bucșele cu bile recirculabile deschise, sau întrun corp de susținere din două bucăți varianta KGBS, pentru bucșele cu bile recirculabile cu fantă (Anexa PT.3).

 

Fig. 9 Subansamble cu bucși bile recirculanie deschise montate într-un corp de susținere

 

Linkuri

https://www.youtube.com/shorts/BzhtEExZwew   

https://www.youtube.com/watch?v=SBOVzFUdfuU