Buzdugan I.D., Mogan Gh.L. Proiectarea roboților ficși. Universitatea Transilvania din Brașov

 

Anexa.PT.2 Rulmenți axial-radiali pentru cuple elicoidale cu șurub cu bile

 

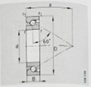
Rulment axial-radial  pentru șuruburi cu bile

 

 

 

Rulment axial-radial dublu pentru șuruburi cu bile

 

Rulment axial-radiali pentru șuruburi cu bile cu găuri de fixare la carcasă