Buzdugan I.D., Mogan Gh.L. Proiectarea roboților ficși. Universitatea Transilvania din Brașov

 

Anexa.3.1.1 Aspecte generale despre prehensoare 

 

Tipuri și caracteristici ale prehensoarelor

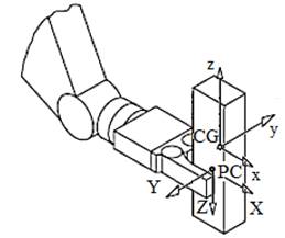
Studiile privind prehensiunea unui obiect se realizează asociind obiectului de manipulat un sistem de coordonate cartezian drept (xzy), de obicei, cu centrul în centrul de  greutate (CG) al acestuia (fig. 1,a). Sistemul de coordonate (XYZ) asociat punctului caracteristic (PC) al dispozitivului de prehensiune se consideră ca sistem de referință în vederea stabilirii poziției și orientării obiectului de prehensat. 

 

a                                                               b

Fig. 1 Poziționarea și mobilitățile obiectuluiprehensat:

a – cu prehensor cu două bacuri; b – mișcări posibile

 

 

Tab. 4.1 Clasificarea dispozitivelor de prehensiune

Criteriul

Tipul dispozitivului

Obs.

După posibilitățile de folosire

Specializat

Pentru mai multe obiecte

Specific

Numai pentru un obiect cu formă particulară

După tipul structurii obiectului

Pentru obiecte rigide

Dispozitivul se adaptează obiectului și proceselor

Pentru obiecte deformabile

Pentru obiecte cu structură casantă

Tipul acționării (realizarea forței de strângere)

Pneumatic pentru operații simple de manipulare

 

Hidraulic

Doar în cazuri de excepție, când trebuie manipulate piese grele

Electric

Frecvent întâlnite în practică

Electromagnetic

 

Numărul de obiecte manipulate

Simplu

Prehensiunea unui obiect

Dublu

Prehensiunea simultană a două obiecte

Posibilitatea de corectare a erorilor de poziționare și orientare

Cu complianță

Pentru operații de montaj

Fără complianță

Pentru obiecte rigide

Asemănarea cu mâna umană

Antropomorf

Prehensiunea cu 5 degete

Neantropomorf

Prehensiunea cu 2, 3 degete

Construcția elementelor de contact

Cu bacuri

 Prehensiunea se realizează prin apucare

Cu degete (gheare)

Cu tentacule

Prehensiunea se realizează prin înfășurare

Numărul de puncte de contact

Un singur punct

Siguranța prinderii crește cu creșterea numărului contactelor

Două puncte

Trei puncte

Patru sau mai multe puncte

Precizia de strângere

Cu forță de strângere constantă

Fără controlul preciziei de strângere

Cu forță de strângere variabilă

Cu controlul local al forței de strângere

Menținerea obiectului în timpul manipulării

Prin formă

Se asigură echilibrul forțelor normale din contacte

Prin frecare

Se asigură echilibrul forțelor de frecare din contacte

Prin formă și frecare

Se asigură echilibrul forțelor normale și de frecare din contacte

Configurațiile de prindere

De precizie

Pentru obiecte mici, prehensiunea se realizează doar cu bacurile 

De forță

Pentru obiecte grele, prehensiunea se realizează cu bacurile și baza prehensorului

De precizie și de forță

Pentru piese mici și grele

 

Prehensiunea cu mâini mecanice se poate realiza în configurații diferite,de obicei, concepute după forma obiectului (paralelipipedică, sferică, cilindrică etc.). Numărul de bacuri (degete) se adoptă în funcție de tipul suprafețelor obiectului manipulat și de modul specific de prindere: axială, radială, oblică, laterală etc.

 

 

http://www.willowgarage.com/sites/default/files/velo_white_3.JPG

a

b

c

d

e

Fig. 2 Tipuri de prehensoare: a – cu două bacuri paralele; b – cu două degete;

c – cu trei degete simetrice; d – cu trei degete asimetrice; e – cu cinci  degete (antropomorf)

 

Tab.1 Caracteristicile proceselor și dispozitivelor de prehensiune

Caracteristica

Descrierea

Sarcina

Valoarea nominală a masei obiectului de prehensat, exprimată în kg, în vederea manipulării/transferului dintr-o poziție inițială într-o poziție finală.

Forța de strângere

Valoarea maximă a forței de apăsare a prehensorului asupra obiectului, exprimată în N, cu scopul menținerii acesteia în timpul manipulării a poziției față de prehensor.

Preciziade prehensiune (prindere)

Erorile de poziționare a obiectului prehensat și manipulat, de obicei exprimate în zecimi de mm, care indică abaterile punctelor  de poziționare efective de la punctul țintă (fig.1).

Stabilitatea (siguranța)

O prindere (apucare) este considerată a fi stabilă dacă obiectul prins revine întotdeauna la forma/poziția inițială ori de câte ori este scos din acea poziție prin acțiuni perturbatoare.

Dexteritatea

Abilitatea prehensorului de a transmite mișcarea obiectului prehensat.

Versatilitea

Prehensorul pe lângă funcția principală poate avea și alte funcții suplimentare care asigură flexibilitate operațională mărită și poate prinde cu ușurință obiecte de diferite forme și dimensiuni diverse.